俄罗斯留学网站调整解决方案
俄罗斯留学网站调整解决方案
返佣网前期网站调整方案案例
返佣网前期网站调整方案案例
垃圾车厂家网站SEO优化案例
垃圾车厂家网站SEO优化案例
客户满意度研究公司行业网站优化案例
客户满意度研究公司行业网站优化案例
钢格栅板行业网站优化案例
钢格栅板行业网站优化案例
无缝钢管网站SEO优化前期调整
无缝钢管网站SEO优化前期调整
广州搬家行业网站优化案例
广州搬家行业网站优化案例
钢格板厂网站SEO优化前期调整案例
钢格板厂网站SEO优化前期调整案例
通风设备行业网站优化案例
通风设备行业网站优化案例
光电科技行业网站优化调整方案
光电科技行业网站优化调整方案
pos机行业网站优化调整案例
pos机行业网站优化调整案例
ups电源行业网站优化调整方案
ups电源行业网站优化调整方案
pcr仪设备网站调整解决方案
pcr仪设备网站调整解决方案
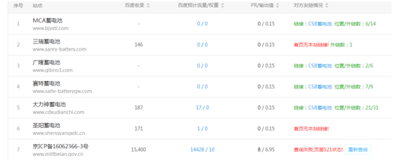
蓄电池行业网站优化案例
蓄电池行业网站优化案例
材料行业的网站诊断方案
材料行业的网站诊断方案
苏州公积jin提取网站前期调整解决方案
苏州公积金提取网站前期调整解决方案
CSB蓄电池网站前期调整诊断
CSB蓄电池网站前期调整诊断
钢管行业网站优化分析案例
钢管行业网站优化分析案例
jin融返佣行业网站前期调整方案
金融返佣行业网站前期调整方案
汽车制造行业网站优化案例
汽车制造行业网站优化案例